5

A lot of introductory resources on modern CPU present them as being built from NAND gates (see here and there for instance).

Actually, it is possible to build a modern CPU using almost exclusively that single component, because of functional completeness (see NAND logic) and because a NAND gate is something not too difficult to conceive from CMOS transistors (see here).

Now, if we wanted to explain how vacuum tube computer were conceived, before the advent of semi-conductors, would a description based on logic gates be accurate?

Weier
  • 177
  • 5
  • 4
    A vacuum tube was the predecessor of the modern (stand-alone) transistor. So your last question is unclear, as transistors did not exist. – PMF Feb 29 '24 at 13:46
  • 1
    not 'almost exclusively', but exclusively NANDs, if you really wanted to do it. The triode valve was a fundamental component, with a pair cross-coupled into a latch. – Neil_UK Feb 29 '24 at 13:53
  • @MarcusMüller I'd like to know how these computers were conceived, and what was the most elementary component they were based on (just like one could say that a modern computer is/could be mostly based on CMOS transistors, assembled in NAND gates). Maybe design approach is a correct wording for that, I don't know. – Weier Feb 29 '24 at 14:04
  • @PMF Should I understand that the vacuum tube played the same role as a CMOS transistor today? What kind of vacuum tube component specifically? Did it behave the same as a CMOS transistor (in the sense that one or the other could be used interchangeably in a circuit to conceive a NAND gate)? – Weier Feb 29 '24 at 14:08
  • 1
    Some early computers were based on dekatron counter tubes and not binary logic elements. See https://www.tnmoc.org/first-generation-gallery – 6v6gt Feb 29 '24 at 14:23
  • @6v6gt as far as I understand the history of these, they are conceived (and correctly modeled) as 10 latches with 10 AND. Each latch input is connected to the output of one AND, and the AND's inputs are the clock and the previous latch's output. – Marcus Müller Feb 29 '24 at 14:29
  • 1
    @Weier Vacuum tubes behave most similarly to JFETs, though not entirely (they're not symmetric, for one thing). You could make logic gates (including NAND) out of them, but that's not how designers thought at the time--many early computers weren't even binary, because everyone thought in decimal. – Hearth Feb 29 '24 at 16:58
  • I don't believe there is anything wrong with your revised question. It maybe more appropriate to post this question in Retrocomputing. – PDP11 Mar 01 '24 at 17:02
  • 1
    Not everbody thought in decimal, see Konrad Zuse as an example. – PDP11 Mar 04 '24 at 10:03
  • Before vacuum tubes, relays and electromechanical systems were available for logic circuits. Tubes were marginally more reliable and much faster. – Grabul Mar 12 '24 at 00:32

5 Answers5

9

There were a lot of variations of vacuum tube computers. The idea of carrying out computations electronically was new, and the folks hadn't quite nailed down the mathematics of it, never mind having figured out the most efficient way to store and operate on numbers electronically.

ENIAC was one of the first (if not the very first) electronic computer. Whether you want to call it the first depends on where you draw the line between calculator and computer.

From today's perspective, ENIAC was bizarre. It didn't work in binary. It operated natively on decimal numbers. Where today we have bits representing 1 and 0 and then group them in bytes or other larger groups for larger numbers, ENIAC used a ten position ring counter with carry output to represent a standard decimal digit as its smallest storage unit.

This was a carry over from mechanical calculators, so it was easier for the folks who were used to the older equipment to conceive and construct.

It took 36 tubes in the ENIAC to represent one digit. A modern binary system can store 4 bits (allowing values from 0 to 15 to be stored) in four flip-flops, each with two transistors for 8 transistors total. You can build an equivalent flip-flop with tubes. A four bit storage unit with tubes would have only take 8 tubes.

It seems obvious today that you want to use binary to represent your numbers, but it wasn't obvious back then. With a ring counter for digit storage, you get adding and carry as part of the function - you have to add more logic for adding and such to the binary memory. Without an overview of the situation, it is hard to tell which will end up being simpler and more efficient.

With time, it became clear that it was simpler and more efficient for the machines to work in binary, even though that meant your programmers and system engineers had to learn to work in a different numerical base.

You could build a vacuum tube computer entirely out of NAND gates. A vacuum tube functions similar to a transistor, so you could duplicate any transistor logic circuit with tubes.

You probably wouldn't want to do that, though. If you use only NAND gates, you will sometimes have to use multiple gates to build a specific logic funtion. An AND gate is a NAND gate followed by a NAND gate wired to make a NOT gate. That takes more transistors (and tubes) than building an AND gate. Individual tubes cost far more than individual transistors and they fail very often - you want to reduce the number of tubes to reduce costs and failures. You'd build each logic circuit of the appropriate type rather than assembling them from NAND gates.

JRE
  • 71,321
  • 10
  • 107
  • 188
  • Other early digital computers such as CSIRAC were binary (20-Bit words) https://cis.unimelb.edu.au/__data/assets/pdf_file/0009/3775482/the-last-of-the-first-csirac-ebook.pdf There certainly were computers based on decimal but even those circuits could be based on binary logic elements. – PDP11 Mar 02 '24 at 12:43
  • The more I dug into this the earlier it gets. First stop was Konrad Zuse and his binary computer that predates the US computers. This led back to the patent for an AND gate by Tesla in July 1900. popularelectronics.technicacuriosa.com/2017/03/31/… – PDP11 Mar 04 '24 at 09:50
  • 3
    Actually the first turing complete, binary digital computer would have been by Konrad Zuse, built four years (also disassembled) before ENIAC. – PDP11 Mar 05 '24 at 13:31
6

Here is one of the early papers. The early computer designers didn't think in "logic gate" terms. The basic flip flop was cross-coupled inverters clocked from the cathodes. There was much capacitive coupling: computation often utilized trains of pulses instead of static levels.

Edit:

And here's another example. enter image description here From a logic viewpoint, the tube is a two-output gate, ~(A&B) along with A&~B. But you won't see that in the patent. This is different from a CMOS implementation: logic using differential amplifiers in this way is very rare (extinct?) these days.

Yet another edit:

If you're building a computer from NAND gates, your basic bistable element is going to be something like this:

schematic

simulate this circuit – Schematic created using CircuitLab

But you never see anything like this in early papers or books. This seems not to have been part of the conceptual framework the early designers used. The internal switching within early flip-flops doesn't even match the architecture of early gates, even though that was a possibility. The early papers and books put bistable circuits before logic, which indicates that the authors considered logic to have a supporting role, not a central one. The idea of something like NAND as a universal building block was not present.

Still another edit:

electronics.stackexchange.com/questions/318341/… suggests that the modern edge-triggered flip flop, composed of Boolean gates, appeared in the 1960s. Before that, edge triggering was widespread, but implemented with capacitors, a distinctly non Boolean approach.

John Doty
  • 4,304
  • 1
  • 9
  • 17
  • @All - The long comment chain here has exceeded what is reasonable for comments. Therefore comments have been moved to chat & should be continued there. Here is the chatroom link. -- As this bulk moving of comments to chat can only be done once per answer, any further comments posted here might be deleted without notice. Keep it in chat now, please! – SamGibson Mar 11 '24 at 00:51
3

Vacuum tube computers were made of logic gates

Logic Gate theory dates back to Leibniz's 1690 discovery of his algebra of concepts (deductively equivalent to the Boolean algebra). Also see A Survey of Symbolic Logic by Lewis, UC Press Berkley 1918.

The use of digital logic elements such as AND, XOR, etc., were well understood before the first digital computers. Boolean algebra was introduced in the period of 1847 to 1854 and formally introduced as Boolean Algebra in 1913. To quote Wikipedia "Boolean algebra has been fundamental in the development of digital electronics, ...".

For example, the patent for an AND gate by Tesla US Patent No. 725,605 on 14 April 1903. Walther Bothe, inventor of the coincidence circuit, got part of the 1954 Nobel Prize in physics, for the first modern electronic AND gate in 1924.

Prior to vacuum tube computers there were earlier mechanical calculating devices refer to papers such as relay switching circuits

Just because a computer was designed for calculating decimal numbers didn't mean that they did not include binary logic gate circuits.

Konrad Zuse designed and built electromechanical logic gates for his computer Z1 (from 1935 to 1938). His binary computer predates the US computers, to quote from Wikipedia:

His greatest achievement was the world's first programmable computer; the functional program-controlled Turing-complete Z3 became operational in May 1941. Thanks to this machine and its predecessors, Zuse is regarded by some as the inventor and father of the modern computer.

Zuse was noted for the S2 computing machine, considered the first process control computer. In 1941, he founded one of the earliest computer businesses, producing the Z4, which became the world's first commercial computer. From 1943 to 1945 he designed Plankalkül, the first high-level programming language. In 1969, Zuse suggested the concept of a computation-based universe in his book

Rechnender Raum (Calculating Space).

Much of his early work was financed by his family and commerce, but after 1939 he was given resources by the government of Nazi Germany. Due to World War II, Zuse's work went largely unnoticed in the United Kingdom and United States. Possibly his first documented influence on a US company was IBM's option on his patents in 1946.

In 1938 there was Claude Shannon's paper on switching circuits and Boolean Algebra.

Text books of the vacuum tube era described the design of digital computer circuits using logic gates.

Jacob Millman helped develop RADAR systems and wrote 8 books on electronics. These books included the Millman and Taub, Pulse and Digital Circuits, McGraw Hill 1956, Library of Congress 55-11930 VIII 42385. Chapter 5, The Bistable Multivibrator, Pages 140-173. In these 34 pages they describe the theory and application of vacuum tube pulse techniques for systems like RADAR, frequency counters, etc. Absent was any mention of digital computer design.

Like the previous 4 introductory electronics chapters from 'Review of Amplifier Circuits' to 'Non-Linear Wave Shaping' and the following 7 chapters which continued analysis in terms of pulse techniques for circuits ranging from 'Monostable and Astable Multivibrators' to 'Synchronization and Frequency Division'.

Chapter 13, 'Digital Computer Circuits', Pages 392-428 details the circuit operation of OR, AND, NOT and XOR in terms of Boolean Algebra. When describing a register that was built using the available technology it would now be described as an RS Flip-Flop the chapter has these illustration: RS Flip-Flop Half-Adder Circuit Logic

This book along with the other 1940s and 50s references predates the 1962 MIL-STD-806B which defines our current drawing symbol set. Historically logic gates were just drawn as square boxes, e.g. Millman and Taub, Fig 13-28 Page 414, Fig 13-35 Page 421, Table 13-1 Page 420 above, or the below referenced IBM 704 Logic Symbols, 704_schemVol1.pdf, Page 4: IBM 704 Logic Symbols

It was impossible for these earlier references to draw their computer designs using a symbol drawing set that didn't exist.

To quote from Wikipedia's Karnaugh map entry:

The Karnaugh map (KM or K-map) is a method of simplifying Boolean algebra expressions. Maurice Karnaugh introduced it in 1953 as a refinement of Edward W. Veitch's 1952 Veitch chart, which was a rediscovery of Allan Marquand's 1881 logical diagram aka Marquand diagram but with a focus now set on its utility for switching circuits. Veitch charts are also known as Marquand–Veitch diagrams or, rarely, as Svoboda charts, and Karnaugh maps as Karnaugh–Veitch maps (KV maps).

Therefore digital logic elements were well understood when the first vacuum tube computers were designed.

Logic elements such as AND, OR and Inverters were used in the design of early vacuum tube computers. Wikipedia entry for IBM states:

It offered its first commercial stored-program computer, the vacuum tube based IBM 701, in 1952.

Bitsavers in the Computing Archive contains reference material for early computers from various manufacturers. In the IBM 701 folder there is an extract from the Proceedings of the Institute of Radio Engineers (I.R.E). For all publications see Proceedings 1913 to 1962. In 1963 the name was changed to Institute of Electrical and Electronics Engineers (IEEE).

The October 1953 extract (Buchholz_IBM_701_System_Design_Oct53.pdf), Page 1262, System Design of the IBM Type 701 Computer. This provides an introduction to the system. Starting on Page 1287 is the article The Arithmetic Element of the IBM Type 701 Computer. Page 1289 has the Circuit Operation section which includes a diagram of an adder constructed of AND, OR and NOT gates.

The bitsavers site also has the engineering diagrams for the IBM 704 (e.g. 704_schemVol1.pdf) IBM 704 computer which was introduced in 1954. As an example, the System Diagrams in the Volume 1 schematics book uses AND, OR logic gates.

At one time I had engineering drawings for the UNIVAC I and that used blocks of logic. Unfortunately these drawings are long gone and I cannot provide references to that material.

In reference to the question posed, a description based on logic gates is appropriate.

To implement these logic elements refer to material such as:

PDP11
  • 408
  • 1
  • 6
  • I think you meant 1964 for the 704… – hacktastical Mar 02 '24 at 03:34
  • Thank you, fixed the typo. – PDP11 Mar 02 '24 at 10:07
  • Your research shows that the 701 design included gate-based thinking, but it was mixed with more physical ideas. Where are the gates in the "delay unit" on page 1293? – John Doty Mar 04 '24 at 13:48
  • Refer to the 'Microsecond Delay Unit' and circuit operation discussion on Pages 1288 to 1290. The Accumulators can require upto 1 microsecond to perform their operations and the delay units are on the outputs for signal timing. See the associated Figures 1 through 5. That is why at Page 1293 it states "Once again, the use of delay units in the accumulator register simplifies the process" The function of delay units for timing had been discussed starting at Page 1288. To achieve memory timing delays the PDP-11/05 used delay lines. All these timing functions used the simplest technique available – PDP11 Mar 05 '24 at 09:57
  • @PDP11 "All these timing functions used the simplest technique available." So, you agree with me that "a description based on logic gates", to use the words of the OP, isn't what early designers employed? – John Doty Mar 05 '24 at 17:03
  • When building any computer an issue is propagation delays for sequencing and synchronization. The reason I mention the PDP-11/05 is due to the use of a physical delay line to generate clock transitions at different times. The PDP-11/05 circuit does not use a series of logic gates, the same as the timing delays in the IBM 701 is not implemented as a logic gate, it is a buffer. None of these circuits operate at the speed of light therefore all have propagation delays that have to be taken into account one way or another. – PDP11 Mar 05 '24 at 17:17
  • The system was designed using logic gates and boolean algebra. Came across a description of the design process for a computer system which was the logic was designed first before any physical construction started. – PDP11 Mar 05 '24 at 18:01
  • @PDP11 Yes, there are propagation delays. But if you deal with them using tech that isn't a gate, then "a description based on logic gates" does not accurately account for the approach. – John Doty Mar 05 '24 at 19:21
  • @PDP11 http://www.bitsavers.org/pdf/autonetics/d17/MCUG-1-71_Wire_Lists_Logic_Equations_Apr71.pdf includes the "logic equations" for the D17B computer from the late 1950s. The "logic equations" are not propositional logic, but a primitive HDL. – John Doty Mar 05 '24 at 19:32
  • That is why I referred to time delays in the third generation PDP-11/05. Computer designers have always had to account for propagation delays in systems design and multiple techniques have been used. For an overview refer to https://www.ti.com/lit/an/scaa055/scaa055.pdf?ts=1709687737817&ref_url=https%253A%252F%252Fwww.google.com%252F – PDP11 Mar 06 '24 at 01:17
  • We are going to have to stop this extended discussion as all we are doing is triggering Stack Exchange discussion warnings. All the designers from that era are dead, the people taught in the 1950s and 60s to maintain relay switching logic to first generation computers, RADAR systems etc., like me are heading the same way. Given primary sources like patents and documentation from that era are being ignored this becomes a pointless exercise. Have to agree to disagree – PDP11 Mar 06 '24 at 06:06
  • @PDP11 I'm not ignoring the primary sources. You're ignoring the question. It is clear from primary sources that designers did not consider computers to be built bottom up from gates. The culture was flip-flop centered, and flip-flops were their own thing, not thought to be made from gates. Gates had a supporting role. – John Doty Mar 06 '24 at 14:59
  • Systems need to store data. Various technologies were employed e.g. Flip-Flops, Mercury Delay lines, etc. Whatever was implemented wouldn't alter designers work with logic gates required to implement key systems e.g. accumulators, instruction decoding, execution order, etc. The answer to the question posed is that a description based on logic gates is accurate. The referenced IBM 704 document illustrates this. Hence discussion is pointless and all we can do is agree to disagree. – PDP11 Mar 06 '24 at 18:49
  • @PDP11 - Hi, I haven't checked every reference, however: (a) Reference 10 is an invalid URL. Can you fix it? (b) Did you copy this image from that reference 10 link (Military Standard 806) or from elsewhere? Please make that clear & add the relevant page number. TY (c) You refer to "Chapter 13, 'Digital Computer Circuits', Pages 392-428". Please add the author's name(s) (and ideally the publisher & edition). Non-web citations should be on a "best efforts" basis, TY || Please aim to consolidate several small edits into fewer larger ones, where possible. TY – SamGibson Mar 12 '24 at 02:57
  • Sorry about that, reference still worked for me. Suspect my Browser's cache is being too helpful. I've changed that reference to a pdf on Bitsavers. I expanded the Millman and Taub book reference but the IBM document has no document info. Have yet to recheck all URLs. Have to return to that task. – PDP11 Mar 12 '24 at 08:44
  • Definitely had reliability problems with some of the URLS not being stable. Had to delete and replace some references. Tried to improve reference details but still not happy with all. Hopefully you should be able to access all. Catch is some are pdf documents in folders so I've tried to list relevant pdf file names. – PDP11 Mar 12 '24 at 14:29
2

Electronic computers need to have controllable switches to construct Boolean logic functions, including gates. Vacuum tube-based digital computers were no different. So, yes, vacuum tube machines being digital computers composed of binary logic, used ‘gates’ by definition.

The basic concepts of binary logic were well-known in the 1940s. Boolean math (symbolic logic) as a formal discipline had been studied, taught and used for at least a hundred years by that time, based on ideas going as far back as Aristotle. A symbology for Boolean math had been in place for at least forty years. Two-value Boolean algebra was the subject of several influential scholarly papers in the mid-1930s.

The takeaway is, the formal and practical underpinnings of 2-state Boolean logic were already established by the time tube computers came along.

It’s not clear (to me, anyway) when the term ‘logic gate’ came into use. In the 1930s the electronic ‘coincidence circuit’ (AND) function was first described and built. Even before then, electomechanical relays were used to implement logic and build computers, a practice that persisted into the tube era.

The point being, binary gates as a concept existed well before vacuum tube computers. A binary logic function by any other name, be it a ‘gate’ or a ‘coincidence detector’ is still a logic function.

Back to tubes. How are they used to make binary logic? Tubes are voltage-controlled current switches that work something like FETs (specifically, JFETs.) Their ability to switch can be used to create logic gates.

How exactly did the early designers do that? For starters, tubes have some rather unfriendly biasing requirements, requiring different thinking than you’re used to regarding logic levels. High operating voltages and complex level shifting were the norm.

More here: NOT gate using triodes

Second, the very earliest machines didn’t necessarily use power-of-2 word-size binary like we do today. Some, like ENIAC, worked in base-10, and used electronic analogues of mechanical systems. Later machines like the IBM 7xx adopted more conventional binary base-16 working.

You mentioned the NAND as a ‘universal gate’. Did vacuum tube machines use a ‘universal gate’? The answer is, nope.

Using all-NAND is more of a CMOS thing; tubes not so much. For that matter, even CMOS machines don’t use all-NAND, but will use a variety of structures to yield the best trade off of speed, area, and power. And so it goes with tubes.

Let’s touch on this 'universal gate' idea for a bit.

First, NOR gates can be used with equal efficiency as NAND as the ‘universal gate’. And in fact, to my knowledge, only one practical machine has been constructed from just one gate type, be it NAND or NOR: the Apollo Guidance Computer. The AGC's CPU was built using just one type of logic IC, a dual 3-input NOR.

More here: What is the lowest level of CPU programming above transistors?

tl; dr: The AGC’s designers did that because they could manage the spaceflight-level reliability issues by settling on just one logic IC. It was a radical and somewhat controversial idea at the time, but it worked well.

Meanwhile, back on Earth, we don’t have to get hung up on a single gate type being a fundamental logic unit. You have a bit more flexibility.

When it comes to tubes, you have to think at a lower level than gates. After all, tubes are bulky, expensive, power-hungry, and have limited life. Using them efficiently requires some creative thinking.

And indeed, those tube-machine designers did exactly that. They standardized on a select few tube types, from which they fashioned the basic elements they needed - AND, OR, NOT, NAND, NOR, XOR, flip-flop etc. They worked out the biasing and connection schemes to make them work together, meanwhile working very hard to minimize the tube count.

That said, the closest thing to a ‘universal’ tube logic element would be the dual triode tube. This tube, through various connection schemes, could render a gate, flip-flop, or switch.

Diode tubes also saw some use. Tetrodes and pentodes proved handy for making AND gates owing to their multiple grids.

There were some exotic tube types, including counting tubes that modeled mechanical systems, such as the cold-cathode Dekatrons used in ANITA calculators.

Later machines, including the IBM 604 keypunch linked above and 704 used semiconductor diodes to replace diode tubes.

hacktastical
  • 53,912
  • 2
  • 49
  • 152
1

Now, if we wanted to explain how vacuum tube computer were conceived, before the advent of semi-conductors, would a description based on logic gates be accurate?

Logic gates have nothing to do with semiconductors. They are abstract mathematical primitives that happen to be a graphical representation of propositional logic formulas. A combinatorial logic circuit diagram is, ignoring timing, exactly equivalent to a propositional logic formula.

Asking whether a description "based on logic gates" would be accurate for combinatorial functions in a digital computer is like asking whether propositional logic can describe them. Of course it does, they were all designed with propositional logic in one form or another first, and only later converter to physical circuits.

Now, how straightforward is the translation of propositional logic formulas (a.k.a. logic gate circuit diagrams) to electronic building blocks such as vacuum tubes, bipolar transistors, or mos transistors, and the accompanying passive components - that's a whole another story, and the translation can be quite complex!

Once timing is added into the description, the logic gates don't represent propositional formulas, but rather temporal state propagation graphs overlaid on top of propositional logic primitives. They are still abstract mathematical representations, but most engineers don't reason about them that way. Analysis tools, on the other hands, have to.

  • Early designers thought much more in terms of triggered flip flops than in propositional logic terms. And they generally didn't think of flip flops as being built from cross-coupled gates the way we do. Even as late as 1963, the GE Transistor Manual, Chapter 11, presents Basic Computer Circuits without any mention of "gates". Gates show up in Chapter 12. – John Doty Mar 04 '24 at 14:03
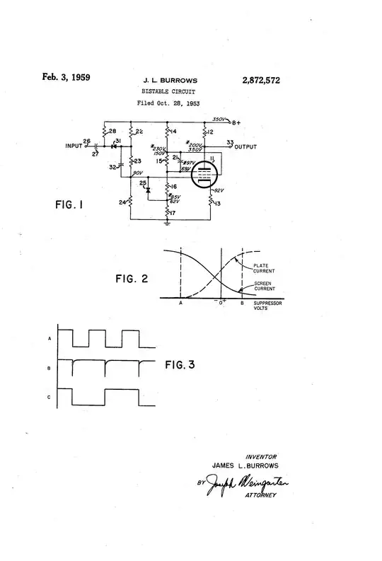
  • Refer to the 1947 ENIAC patent, Page 3 has cross-coupled valves forming a bistable circuit. That style of cross-coupled valves were typical for RADAR and computer logic circuits of the era. Refer to the 1951 Binary Computation Circuit with cross-coupled valves Patent https://patents.google.com/patent/US2719228A/en?oq=US2872572 The later era Burroughs circuit in the answer above increased circuit complexity to reduce valve count. Catch is this was too late as the next generation of computers being designed were to be transistorised and based on three legged fuses. – PDP11 Mar 05 '24 at 13:17
  • @PDP11 And in that era, and even later, cross-coupled valves or transistors were generally not described in "gate" terms. Their designers didn't conceive of them as constructed from gates. The fact that we can now see gates there is an indicator of our conceptual frame, nor theirs. – John Doty Mar 05 '24 at 16:57
  • Search through the descriptions in the patents system and you will find during the 40s and 50s they were designing systems based on logic. The design process was not here are 1,000 valves lets lash up some circuits and see what happens – PDP11 Mar 05 '24 at 18:15