Here is a similar question I answered here: How do I design correctly ground plane separation for Texas Instruments TPS63060 IC? and another here: Proper way of connecting logic GND / power GND on MOSFET driver
I think the core concept here that is under discussion is the concept of "ground". As illustrated in the other answers, GND is not always 0V everywhere. Ohm's Law tells us that V=IR, and given a finite resistance of a copper ground plane, as I goes up, so will V. Let's take it to extremes for example:

Ignoring the illustration for AC effects, imagine that red arrow is return current flowing. Picture it being 100mA, and then being 100A. Given say a 10mOhm ground plane (huge, but again, for illustration), 100mA of current flowing will cause a drop of 0.001V, while 100A flowing will cause a drop of nearly 1V.
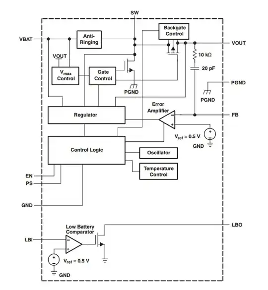
Now, looking at the block diagram for your regulator:

Think about what 'GND' is used for in the circuit. In order for the chip to figure out what voltage to output, it needs FB (feed-back). That gets fed into the error amplifier, which in turn perturbs the control logic (perhaps a SR latch or similar) and modifies the duty-cycle to ensure the output voltage remains in regulation. Likewise, the EN signal controls the part turning on and off -- that needs to be referenced to something.
Consider what would happen if the controller was switching 10s of amperes, and your FB resistor GND was connected immediately to GND near the SW pin. The piece of copper near the high currents, while labeled 'GND', may not actually be the same potential as the 'GND' the controller is using to reference the error amplifier too. Consider what might happen if the FB voltage is thought to be 10mV higher/lower than what it really is -- that translates into an error in output voltage.
In general, you tie them together right at the controller itself. Then, for the small-signal components (i.e. FB resistors, compensation networks), their GND connection should be a trace that routes directly back to the small-signal GND pin of the controller -- no other connections to GND. If you think about where the current flows (and remember, the small-signal stuff is uA of current), it will follow the path back to where you have chosen to connect it to GND.