Heckler & Koch MP5
The Heckler & Koch MP5 (German: Maschinenpistole 5, lit. 'Submachine gun 5') is a submachine gun developed in the 1960s by German firearms manufacturer Heckler & Koch. It uses a similar modular design to the Heckler & Koch G3, and has over 100 variants and clones,[14] including selective fire, semi-automatic, suppressed, compact, and even marksman variants.[15] The MP5 is one of the most widely used submachine guns in the world, having been adopted by over forty nations and numerous militaries, police forces, intelligence agencies, security organizations, paramilitaries, and non-state actors.[16][17]
Attempts at replacing the MP5 by Heckler & Koch began in the 1980s, but despite functional prototype weapons having promising performance, a formal successor did not enter commercial production until 1999, when Heckler & Koch developed the UMP.[18] However, despite being more expensive, the MP5 remained the more successful of the two designs, because of its preexisting widespread use, design familiarity, and lower recoil due to its roller-delayed action as opposed to the UMP's straight blowback action.[19]
History
Heckler & Koch, encouraged by the success of the G3 battle rifle in 1959, developed a family of small arms consisting of four types of firearms all based on a common G3 design layout and operating principle. The first type was chambered for 7.62×51mm NATO, the second for 7.62×39mm M43, the third for 5.56×45mm NATO, and the fourth for 9×19mm Parabellum. The MP5 was created for the fourth type as the HK54; under the HK naming system, this categorizes it as a selective fire carbine chambered in a handgun cartridge.[20]
Development began in 1964, and in 1966 the HK54 was adopted by the Bundesgrenzschutz and by Bundeswehr special forces, initially as the MP64, before being redesignated as the MP5.[20] The MP5A1 was introduced in the late 1960s and was the first model to feature the front ring sight and "Slimline" handguard. In 1970, the MP5 and MP5A1 were superseded by the MP5A2 and MP5A3, improvements to the MP5A1 with a fixed stock and retracting stock respectively. In 1974, the MP5SD, an integrally-suppressed variant, was introduced, and in 1976, the MP5K, a redesigned compact variant, was developed per a request for a variant that suited close-quarters combat in South America. In 1977, the original straight magazines were replaced by curved steel magazines. In 1978, the "Tropical" handguard was introduced for the MP5.
In 1980, the MP5 achieved an iconic status during the Iranian Embassy siege, when British Army Special Air Service operatives used MP5s with top-mounted flashlights to assault the embassy and rescue the hostages held inside. Photos of the operation featuring MP5s were widely disseminated in the press and popular media, and drove other military and police units to purchase MP5s as well, quickly making the MP5 widely recognizable and associated with elite counterterrorist units.[21] The MP5 has since become a mainstay in militaries, special forces, and police tactical units across the world, but has gradually been replaced since the late 1990s by rifles, carbines, and personal defense weapons due to changes in armament trends, including growing access to body armor that can stop handgun projectiles.[22]
The MP5 is manufactured under license in several nations including Greece (formerly Hellenic Arms Industry, currently Hellenic Defence Systems), Iran (Defense Industries Organization), Mexico (SEDENA), Pakistan (Pakistan Ordnance Factories), Saudi Arabia, Sudan (Military Industry Corporation), Turkey (MKEK), and the United Kingdom (formerly Royal Ordnance, later moved to Heckler & Koch Great Britain).[23]
Design
The primary version of the MP5 family is the MP5A2, which is a selective fire delayed blowback-operated 9×19mm Parabellum weapon. It fires from a closed bolt (bolt forward) position.[24]
The fixed, free-floating, cold hammer-forged barrel has six right-hand grooves with a 1 in 250 mm (1:10 in) rifling twist rate and is pressed and pinned into the receiver.[25]
Features

The first MP5 models used a double-column straight box magazine, but since 1977, slightly curved steel magazines have been used with a 15-round capacity (weighing 0.12 kg) or a 30-round capacity (0.17 kg empty).[25]
The adjustable iron sights (closed type) consist of a rotating rear diopter drum and a front post installed in a hooded ring. The rear sight is mechanically adjustable for both windage and elevation with the use of a special tool, being adjusted at the factory for firing at 25 metres (27 yd) with standard 8 grams (123 gr) FMJ 9×19mm NATO ammunition. The rear sight drum provides four apertures of varying diameters used to adjust the diopter system, according to the user's preference and tactical situation.[26] Changing between apertures does not change the point of impact down range.
The MP5 has a hammer firing mechanism. The trigger group is housed inside an interchangeable polymer trigger module (with an integrated pistol grip) and equipped with a three-position fire mode selector that serves as the manual safety toggle. Per HK trigger group standards, most MP5 variants have the option of "SEF" or "Navy" trigger groups, with further alterations based on the availability and type of burst fire; the "SE" and "0-1" trigger groups are only available for semi-automatic and civilian variants. While the "SEF" trigger group's fire selector lever is located on the left-hand side of the trigger, the SEF symbols themselves appear on both sides of the trigger grouping; the "Navy" trigger group, among others, are ambidextrous. The safety/selector is rotated into the various firing settings or safety position by depressing the tail end of the lever. Tactile clicks (stops) are present at each position to provide a positive stop and prevent inadvertent rotation. The "safe" setting disables the trigger by blocking the hammer release with a solid section of the safety axle located inside the trigger housing.[25]
The non-reciprocating cocking handle is located above the handguard and protrudes from the cocking handle tube at approximately a 45° angle. This rigid control is attached to a tubular piece within the cocking lever housing called the cocking lever support, which in turn makes contact with the forward extension of the bolt group. It is not however connected to the bolt carrier and therefore cannot be used as a forward assist to fully seat the bolt group. The cocking handle is held in a forward position by a spring detent located in the front end of the cocking lever support which engages in the cocking lever housing. The lever is locked back by pulling it fully to the rear and rotating it slightly clockwise where it can be hooked into an indent in the cocking lever tube.[25]
Operating mechanism

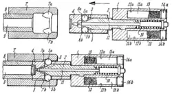
The bolt rigidly engages the barrel extension—a cylindrical component welded to the receiver into which the barrel is pinned. The delay mechanism is of the same design as that used in the G3 rifle. The two-part bolt consists of a bolt head with rollers and a bolt carrier. The heavier bolt carrier lies up against the bolt head when the weapon is ready to fire and inclined planes on the front locking piece lie between the rollers and force them out into recesses in the barrel extension.[27]
When fired, expanding propellant gases produced from the burning powder in the cartridge exert rearward pressure on the bolt head transferred through the base of the cartridge case as it is propelled out of the chamber. A portion of this force is transmitted through the rollers projecting from the bolt head, which are cammed inward against the inclined flanks of the locking recesses in the barrel extension and to the angled shoulders of the locking piece. The selected angles of the recesses and the incline on the locking piece produce a velocity ratio of about 4:1 between the bolt carrier and the bolt head. This results in a calculated delay, allowing the projectile to exit the barrel and gas pressure to drop to a safe level before the case is extracted from the chamber.[27]
The delay results from the amount of time it takes for enough recoil energy to be transferred through to the bolt carrier in a sufficient quantity for it to be driven to the rear against the force of inertia of the bolt carrier and the forward pressure exerted against the bolt by the recoil spring. As the rollers are forced inward they displace the locking piece and propel the bolt carrier to the rear. The bolt carrier's rearward velocity is four times that of the bolt head since the cartridge remains in the chamber for a short period of time during the initial recoil impulse. After the bolt carrier has travelled rearward 4 mm, the locking piece is withdrawn fully from the bolt head and the rollers are compressed into the bolt head. Only once the locking rollers are fully cammed into the bolt head can the entire bolt group continue its rearward movement in the receiver, breaking the seal in the chamber and continuing the feeding cycle.[27]
Since the 9×19mm Parabellum cartridge is relatively low powered, the bolt does not have an anti-bounce device like the G3, but instead the bolt carrier contains 32.5 g (1.15 oz) of tungsten granules that prevent the bolt group from bouncing back after impacting the barrel extension. The weapon has a fluted chamber that enhances extraction reliability by bleeding gases backwards into the shallow flutes running along the length of the chamber to prevent the cartridge case from expanding and sticking to the chamber walls (since the bolt is opened under relatively high barrel pressure). A spring extractor is installed inside the bolt head and holds the case securely until it strikes the ejector arm and is thrown out of the ejection port to the right of the receiver. The lever-type ejector is located inside the trigger housing (activated by the movement of the recoiling bolt).[27]
Accessories
Barrel accessories
Threading is provided at the muzzle to work with certain muzzle devices made by Heckler & Koch, including a slotted flash suppressor, a blank-firing adapter (marked with a red-painted band denoting use with blank ammunition only), a rifle grenade adapter (for use with rifle-style grenades with an inside diameter of 22 mm using a special grenade launching cartridge), and cup-type tear gas rifle grenade adapter. An optional "3-Lug" barrel is also available on some variants for mounting a quick-detachable suppressor.
MP5SD suppressor

The MP5SD's 146 mm (5.7 in) barrel has 30 2.5 mm (0.1 in) ports drilled forward of the chamber through which escaping gases are diverted to the surrounding sealed tubular casing that is screwed onto threading on the barrel's external surface just prior to the ported segment. The MP5SD's integral suppressor itself is divided into two stages: the initial segment surrounding the ported barrel serves as an expansion chamber for the propellant gases, reducing gas pressure to slow down the acceleration of the projectile. The second decompression stage occupies the remaining length of the suppressor tube and contains a stamped metal helix separator with several compartments which increase the gas volume and decrease its temperature, deflecting the gases as they exit the muzzle, so muffling the exit report. The bullet leaves the muzzle at subsonic velocity, so it does not generate a sonic shock wave in flight. As a result of reducing the barrel's length and venting propellant gases into the suppressor, the bullet's muzzle velocity was lowered anywhere from 16% to 26% (depending on the ammunition used) while maintaining the weapon's automation and reliability.[25]
Receiver
The receiver housing has a proprietary claw-rail mounting system that permits the attachment of a standard Heckler & Koch quick-detachable scope mount (also used with the G3, HK33, and G3SG/1). It can be used to mount daytime optical sights (telescopic 4×24), night sights, reflex sights, and laser sights. The mount features two spring-actuated bolts, positioned along the base of the mount, which exert pressure on the receiver to hold the mount in the same position at all times assuring zero retention. All versions of the quick-detachable scope mount provide a sighting tunnel through the mount so that the shooter can continue to use the fixed iron sights with the scope mount attached to the top of the receiver.
A Picatinny rail adapter can be placed on top that locks into the claw rails. This allows the mounting of STANAG scopes and has a lower profile than the claw-rail system.
Handguard
Standard MP5 variants have the option of two handguards: "Slimline", the original slim checkered metal handguard; and "Tropical", a wider and smoother polymer handguard introduced in 1978.
The MP5SD, MP5K, and SP89 have unique handguards owing to their design differences: the MP5SD handguard is similar to Slimline but larger to fit the integrated suppressor, the MP5K handguard has a built-in foregrip and handstop, and the SP89 handguard is similar to the MP5K's but extended and without the foregrip.
Aftermarket handguards also exist, including newer vented handguards based on the "Tropical" handguard, "dedicated forend" handguards featuring a built-in underbarrel tactical light, and rail integration system-equipped handguards to fit attachments.[28]
Variants
MP5

- HK54
- Original pre-designation model, introduced in 1964. It has a charcoal-gray phosphated finish rather than the matte-black lacquered finish used on later models. The handguard resembles the "Slimline" handguard but is narrower and has slots along it. Its bolt carrier is longer and heavier than that of the final MP5, and it uses a flip-up "ladder" rear sight similar to that used on early G3 models. It uses straight steel magazines with plastic followers and distinctive "waffle" rib imprints for reinforcement.[29]
- MP5
- The basic MP5, based on a modified and improved HK54, introduced in 1966. When first released, it had a gray phosphated finish, "Slimline" handguard, 8.9-inch barrel with "3-Lug" muzzle, and straight waffle magazines. Modernized improvements were introduced in the 1970s: proprietary "claw mount" rails for scope, laser, and flashlight attachments were introduced in 1973; un-ribbed curved magazines with chrome followers were introduced in 1977; the matte-black lacquered finish was introduced for export models also in 1977; and the polymer "Tropical" handguard was introduced in 1978.[29]
- MP5A1
- Standard MP5 with no stock and the "SEF" or "Navy" trigger group.[29][30]
- MP5A2
- Standard MP5 with a fixed stock and the "SEF" or "Navy" trigger group.[29]
- MP5A3
- Standard MP5 with a retractable stock and the "SEF" or "Navy" trigger group.[29]
- MP5A4
- Standard MP5 with a fixed stock, the "Navy 3-Round Burst" trigger group, and a straight pistol grip.[29]
- MP5A5
- Standard MP5 with a retractable stock, the "Navy 3-Round Burst" trigger group, and a straight pistol grip.[29]
- MP5SF
- Semi-automatic variant of the MP5 intended for the law enforcement and military markets, introduced in 1986 to meet a Federal Bureau of Investigation request for a "9mm semi-automatic carbine". Unlike the HK94, the semi-automatic MP5 variant for the civilian market, the MP5SF retains its standard 8.9-inch barrel. It has two variants: the MP5SFA2 with a fixed stock, and the MP5SFA3 with a retractable stock. It uses the "0-1" trigger group, but since 1991, it has been delivered with select-fire bolt carriers that make it capable of automatic fire if paired with an appropriate trigger group.[31]
- MP5PT
- Training variants of the MP5A4 and MP5A5. They are designed to use a plastic 9×19mm round developed by Dynamit Nobel.[32]
- MP5N
- Naval variant of the MP5, introduced in 1986 to meet a United States Navy request for a submachine gun effective aboard ships and in low-light conditions. It is essentially an MP5A3 with a retractable stock, "Navy 2-Round Burst" trigger group, tritium illuminated sights, and a custom "3-Lug" muzzle derivative for mounting a stainless steel suppressor produced by Knight's Armament Company (KAC).[26]
- MP5F
- Improved French variant of the MP5, introduced in 1999 to meet a French National Gendarmerie request for a suitable standard-issue submachine gun. It is essentially a modified and improved MP5A3, featuring a padded retractable stock, "Navy" trigger group, ambidextrous sling mounts, and internal improvements to handle high-pressure ammunition.[26]
- MP5 Mid Life Improvement (MLI)
- Modernized refresh of the MP5, introduced in 2015. It is based on the MP5A5 and features the MP5F's padded retractable stock, triple-rail "Slimline" handguard, "Navy 3-Round Burst" trigger group, quick-release sight mount or sight rail, and a RAL 8000 finish. Compatible components of the MP5 MLI can be switched out and retrofitted with other compatible MP5 variants.[33]
MP5SD

The MP5SD ("SD" meaning Schalldämpfer, German for "sound suppressor") is a variant of the MP5 with an integral suppressor, introduced in 1974.[34] The integral suppressor, built around its 5.7-inch barrel, uses a unique two-stage design that allows it to operate silently in most environments, including when wet, while still remaining reliable.[35] The distinctive size of the integral suppressor gives it a unique handguard design, with a modified charging handle to account for it. The MP5SD has a rate of fire of approximately 800 rounds per minute, and is intended for use with both standard and subsonic ammunition.[36]
- Standard MP5SD with no stock and the "SEF" or "Navy" trigger group.[34]
- MP5SD2
- Standard MP5SD with a fixed stock and the "SEF" or "Navy" trigger group.[34]
- MP5SD3
- Standard MP5SD with a retractable stock and the "SEF" or "Navy" trigger group.[34]
- MP5SD4
- Standard MP5SD with no stock and the "SEF" or "Navy" trigger group. It is largely similar to the MP5SD1.[34]
- MP5SD5
- Standard MP5SD with a fixed stock and the "Navy 3-Round Burst" trigger group.[37]
- MP5SD6
- Standard MP5SD with a retractable stock and the "Navy 3-Round Burst" trigger group.[37]
- MP5SDN-1
- Naval variant of the MP5SD, with a retractable stock, the "Navy 2-Round Burst" trigger group, and the MP5N's KAC stainless steel suppressor.[37]
- MP5SDN-2
- Naval variant of the MP5SD, with a fixed stock, the "Navy 2-Round Burst" trigger group, and the MP5N's KAC stainless steel suppressor.[37]
MP5K

The MP5K ("K" meaning Kurz, German for "short") is a redesigned compact variant of the MP5, introduced in 1976. Developed from the stockless MP5A1,[30] it features a 4.5-inch barrel incompatible with muzzle attachments, an endcap with sling mount instead of a stock, and a unique handguard with a built-in foregrip. Most components of the MP5K are shortened on account of its compact design, including its bolt, receiver, charging handle, cover, and trigger group frame; the lighter bolt gives it a higher rate of fire, at approximately 900 rounds per minute (as opposed to 800 rounds per minute with the regular MP5). Different variants of the MP5K use either unique open iron sights or redesigned fixed iron sights.[26]
- MP5K Prototype
- Stockless, cut-down MP5A2 with regular iron sights and an open vertical foregrip, developed in 1976.[30]
- MP5KA1
- Standard MP5K with the "SEF" trigger group, smooth upper surface, and small low-profile iron sights.[26]
- MP5KA4
- Standard MP5K with the "Navy 3-Round Burst" trigger group and regular iron sights.[26]
- MP5KA5
- Standard MP5K with the "Navy 3-Round Burst" trigger group, smooth upper surface, and small low-profile iron sights.[26]
- MP5K-N
- Naval variant of the MP5K, with the "Navy" trigger group and a custom "3-Lug" muzzle similar to that of the MP5N.[26]
- MP5K-PDW
- "Full-size" variant of the MP5K, introduced in 1991. It is designed to provide the benefits of the MP5K with the size and handling of a regular MP5, and is essentially a regular MP5K with a custom folding stock, "Navy" trigger group, and 5.5-inch barrel with a custom "3-Lug" muzzle similar to that of the MP5N but for a Qual-A-Tec suppressor. Despite its name, the MP5K-PDW is not a personal defense weapon, as it uses a handgun cartridge and not the sub-intermediate cartridges used by actual PDWs; rather, its name is derived from its intended use as a self-protection firearm for vehicle and aircraft crews.[37]
- MP5K Operational Briefcase
- Standard MP5K intended for use with the Spezialkoffer ("Special Case"), a custom briefcase built by Hofbauer GmbH with a modified claw mount for holding the MP5K, a firing port, and a trigger built into the briefcase handgrip, introduced in 1978. Intended for security details in close-range defense or suppressive fire situations, the MP5K Operational Briefcase uses a firing mechanism built into the briefcase to allow the MP5K to fire without taking time to remove it; however, it cannot be reloaded, cleared of obstructions, or emptied of spent shell casings without opening the briefcase and detaching the MP5K.[38]
- MP5K Special Bag
- Variant of the MP5K Operational Briefcase introduced around 1978, using a leather suitcase called the Spezialtasche ("Special Bag"). Instead of using the handgrip as a trigger, the Spezialtasche features a hidden opening that allows the user to discreetly reach into the bag and fire the MP5K directly.[38]
- MP5K Falling Case
- Variant of the MP5K Operational Briefcase introduced around 1978, using a detachable briefcase called the Zerfallkoffer ("Falling Case"). Instead of allowing the MP5K to fire within the case, the Zerfallkoffer's handgrip and claw mount is designed to be quickly detached from the briefcase, "shedding" it and allowing the MP5K to be used as normal, albeit with a carryhandle. The Zerfallkoffer is also compatible with the MP7.[38]
Rechambered variants

Though the MP5 is normally chambered in 9×19mm Parabellum, two variants and an unreleased kit existed that used different ammunition.[39]
- MP5/10
- MP5 chambered in 10mm Auto, introduced in 1992. It features either a fixed or retractable stock, the "Navy 2-Round Burst" trigger group, and the MP5N's custom "3-Lug" muzzle derivative and tritium illuminated sights. It includes a bolt hold-open device, which catches the bolt in its rear position when empty, and is released by pressing a lever on the left side of the receiver. It is fed by custom 30-round translucent straight magazines.[37] The MP5/10 was discontinued in 2000, but HK still offers support and spare parts.[39]
- MP5/40
- MP5 chambered in .40 S&W, introduced in 1992. It has largely the same features and configuration options of the MP5/10, and is fed by similar 30-round translucent straight magazines, but uses the regular "Navy" trigger group (without the burst-fire selection).[40] The MP5/40 was discontinued in 2000, but HK still offers support and spare parts.[39]
- MP5 .22 LR
- MP5 chambered in .22 Long Rifle, introduced around 2021. It comes in two variants: the MP5 .22 LR Rifle, which resembles an MP5SD3 with a 16.1-inch barrel hidden by a faux "integral suppressor" barrel shroud; and the MP5 .22 LR Pistol, which resembles an MP5A1 or MP5A3 with an 8.5-inch barrel. Both variants use the "Tropical" handguard and the "0-1" trigger group. Like all civilian market MP5 variants, it is semi-automatic only.[41]
- MP5 .22 Long Rifle Rechambering Kit
- Rechambering kit to convert an MP5 to .22 Long Rifle, introduced in the early 1970s and discontinued at an indeterminate point. The kit consisted of a barrel insert, a bolt group, and two 20-round magazines, and was mostly sold to law enforcement agencies for training purposes by easing trainees inexperienced with the MP5 into learning handling techniques and firing practice without the high recoil and cost of 9×19mm rounds. The conversion reduced the MP5's rate of fire to 650 rounds per minute. It was ultimately replaced by the MP5 .22 LR in 2021.
- MP5 6.5×25mm Rechambering Kit
- Rechambering kit to convert an MP5 to 6.5×25mm CBJ, which was proposed in the 2000s but never released. It would have allowed an MP5 to be rechambered simply by switching its barrel.[42]
Civilian variants

- HK94
- Civilian market variant of the MP5, imported to the United States civilian market from 1983 to 1989 (with a one-off final order for the California Department of Corrections and Rehabilitation delivered in 1991). It has a 16.54-inch barrel, "0-1" trigger group, push-button magazine release (as opposed to the paddle magazine release on regular MP5s), and a straight pistol grip similar to that on the MP5A4 and MP5A5. It has two variants: the HK94A2 with a fixed stock, and the HK94A3 with a retractable stock. Optional accessories included a handguard-mounted foregrip and a ventilated barrel shroud. The HK94 was particularly popular as a prop in film and television productions of the era, and blank-firing HK94s with "chopped" 8.9-inch barrels and fake automatic conversions were often used as cost-effective MP5 stand-ins well into the 2010s.[32][43]
- HK94/SG-1
- Accurized sharpshooting variant of the HK94, introduced in 1985. It was designed and intended for marksman fire in situations and environments where precise handgun cartridge fire may be needed, such as dense urban areas and indoor environments like prisons. It has a fixed match stock with a rubber buttpad and an adjustable cheekpiece, a folding bipod, a flash hider, and a Leupold 6x telescopic sight. A PSG1-inspired aftermarket trigger pack was also produced, featuring a target pistol grip and match trigger. The HK94/SG-1 did not sell very well due to its niche role and poor performance—it had poor range, penetration, and stopping power, and its Leupold scope was calibrated for .223 Remington and not 9×19mm—and only 50 units were imported to the U.S., primarily to target shooters and firearm collectors.[44]
- SP89
- Civilian market variant of the MP5K, imported to the U.S. between 1989 and 1994. To comply with the National Firearms Act, the SP89 features a redesigned handguard that replaces the MP5K's built-in foregrip with an extended barrel shroud. Like all civilian market MP5 variants, it is semi-automatic only.[43]
- SP5K
- Modernized SP89 for the American civilian market, imported to the U.S. as a pistol in 2017. It largely resembles the SP89, with a redesigned extended barrel shroud and a top-mounted Picatinny rail for sights. Like all civilian market MP5 variants, it is semi-automatic only.[45]
- SP5
- Modernized civilian market variant of the MP5 introduced in 2019, replacing the HK94. It resembles an MP5A2 with an 8.8-inch barrel, MP5K-style threaded adaptor, "Tropical" handguard, "0-1" trigger group, paddle magazine release, fluted chamber, and the buyer's choice of fixed stock, retractable stock, or endcap.[46]
- SP5K-PDW
- Modernized civilian market variant of the MP5K introduced in 2019, replacing the SP5K. It resembles an MP5K without its handguard foregrip. Like all civilian market MP5 variants, it is semi-automatic only.[47]
Prototypes
Five prototype firearms based on the MP5 were developed by Heckler & Koch in the 1980s and 1990s, mostly intended as improved variants or potential successors, but were not developed any further.
- HK54A1
- Prototype improvement of the HK54, designed for the U.S. Navy Naval Weapons Support Center Crane's (NWSC) Joint Service Small Arms Program (JSSAP) in 1980. It was essentially a refreshed ambidextrous MP5SD with a redesigned retractable stock and compatibility with a 50-round drum magazine. It was designed to be suitable for frogmen and paratroopers in any environment, and was thus also designed to be reliably functional in extreme temperatures and while wearing bulky gloves. HK's proposal for the HK54A1 noted it could be converted to .45 ACP if necessary. An unknown number were produced for testing purposes out of regular MP5 components. The HK54A1 was never properly developed for field use, but it met most JSSAP requirements, drawing the attention of the U.S. government and leading to the development of the SMG I and SMG II.[48]
- SMG I
- Prototype derived from the HK54A1, first developed for the JSSAP between 1982 and 1983. It was intended to spawn a "family" of modular all-purpose submachine guns. Unique for HK, the SMG I used a simple blowback operation with separate lower and upper receivers and an easy-to-remove 5.8-inch barrel with an integral suppressor. It had a boxy body with a retractable stock and a diagonal foregrip. A mechanical and hydraulic buffer in the backplate and a timing device in the stock reduced its rate of fire to a manageable 500 rounds per minute, roughly half that of the HK54A1. The rear iron sight, resembling that of the HK21E, allowed for adjustments based on wind, ammunition type, and sight elevation, and also featured indents to assist with close-range point shooting. The trigger included an add-on to be used with bulkier gloves such as mittens. Only 20 handmade examples were produced. The SMG I was tested by NWSC Crane in 1984 and proved promising, but several minor issues prompted the development of the SMG II.[48][49][50]
- SMG II
- Prototype derived from the SMG I, developed around 1985. It has a largely identical design but addresses the issues reported by NWSC Crane. Its combination of the MP5, MP5SD, and MP5K was made more clear: analogous to the MP5 by default, the addition of a custom suppressor made it akin to the MP5SD, and the removal of the suppressor and retractable stock converted it into an MP5K-like automatic pistol. The three-round burst fire setting returned from the HK54A1. Several components were made from plastic to reduce weight, while the over-engineered rear sight was abandoned for a simpler MP5-style sight. Uniquely, the SMG II had a gas cylinder in the handguard with a gas relief valve on the receiver, used to control round velocity and thus also sound: the "L" setting reduced the propellant gases to fire rounds below the speed of sound—and thus without the usual crack of supersonic projectiles—for almost silent suppressed fire, while the "H" setting used all available gas to fire rounds at full velocity for reliable unsuppressed fire. Other internal changes were made to reduce cost and simplify production and maintenance, but otherwise the SMG II was largely just an improvement of the SMG I. Like the SMG I, only 20 handmade examples were produced for testing by NWSC Crane. While the SMG II again proved promising, it was ultimately abandoned, not for budgetary or technical concerns, but simply due to the success of the regular MP5 and its derivatives, which were already popular enough with the U.S. Navy and all other potential customers to make a replacement unnecessary; HK ultimately developed the MP5N for the U.S. Navy instead. Allegedly, between 60 and 80 additional SMG IIs were secretly commissioned for an unidentified U.S. government agency, possibly a member of the U.S. Intelligence Community, where they were favored by their users, but the lack of spare parts and the gradual move to higher-caliber firearms for close-quarters combat led to all of them being retired and melted down for disposal some time around 1999. Technical knowledge from the SMG II and the concept of a universal submachine gun were later repurposed for the MP2000 prototype and the UMP.[48][49][51]
- MP5 PIP
- Prototype developed around the late 1980s and early 1990s. Very little is known about the MP5 PIP or why it was developed, but it had a boxier body resembling the later UMP, a shorter diagonal magazine, and the "flipper" charging handle later used on the G36. Only one non-functional wooden mockup was produced.[52]
- MP2000
- Prototype derived from the SMG II, developed in the 1990s. It somewhat resembled the SMG II and featured a propellant gas-based round velocity silencing system similar to that of the SMG II. It was presumably an attempted revival of the SMG II concept to replace the MP5 for the 21st century. It is an immediate predecessor of the UMP, which was ultimately marketed as such.[48]
Other manufacturers
Under license
| Name | Origin | Manufacturer | Notes |
|---|---|---|---|
| Hellenic Defence Systems | [53] | ||
| Tondar | Defense Industries Organization | MP5A3 copy[23] | |
| Tondar Light | MP5K copy[23] | ||
| SEDENA | [54] | ||
| MP5P | Pakistan Ordnance Factories | [55][56][57] | |
| POF4 | |||
| POF-5 | |||
| Military Industries Corporation | [58] | ||
| Brügger & Thomet | [59] | ||
| MKEK | With different trigger groups: E (Safe), T (Semi-Auto) and S (Full Auto).[60] | ||
| Royal Small Arms Factory | [23] |
Manufactured without license
| Name | Origin | Manufacturer | Notes |
|---|---|---|---|
| NR-08 | Norinco | MP5A4 copy[61] | |
| NR-08A | MP5A4 copy[62] | ||
| CS/LS3 | MP5A5 copy, mainly for exports [59] | ||
| OFB Anamika 9mm | Indian Ordnance Factory | MP5A3 copy[63] | |
| Tihraga | Military Industry Corporation | MP5A3 and DIO Tondar copy.[64] |
In the United States, PTR Industries,[65] Zenith Firearms,[66] Dakota Tactical,[67][68] and Century International Arms[69] manufacture semi-automatic clones of the MP5 that are legally classified as pistols. In 2007, Professional Arms demonstrated the MK5, an MP5 clone that could be rechambered between 9×19mm, .45 ACP, and .40 S&W.[70]
Users

Former users
East Germany: Used by Diensteinheit IX.[190]
Yugoslavia[191]
Gallery
-
An American Air Traffic Control Detachment range officer fires an MP5K at the Baghdad International Airport firing range.
-
U.S. Navy SEALs armed with MP5-Ns on a training exercise -
A member of SEAL Team 8 with an MP5-N variant in February 1991
-
Iraqi Counter Terrorism Service member with an MP5 -
Bangladesh Army Counter Terrorism unit with MP5A3 in Victory Day Parade 2016 -
Rapid Action Battalion of Bangladesh armed with MP5K (except the second from right) -
NOHED Brigade of Iran training with their MP5 along with their sidearm -
Anti-Firearms Squad of Japan armed with MP5 submachine guns. Some are equipped with Brügger & Thomet Foldable Visor Helmet Stocks. -
Recruits of the Royal Malaysia Police training with their MP5s -

-

-
Indonesian Special Force Command (Kopassus) training with their MP5 -
A member of South Korean Special Warfare Command fires an MP5 -
The West German communist militant group Red Army Faction (RAF) depicted the MP5 in their insignia, shown here.[192]
See also
References
- ^ "GUERRILHA E CONTRA-GUERRILHA NO ARAGUAIA". Archived from the original on 19 June 2021.
- ^ Sousa, Rafael de Abreu e (2019). A materialidade da repressão à guerrilha do Araguaia e do terrorismo de Estado no Bico do Papagaio, TO/PA: noite e nevoeiro na Amazônia [The materiality of the repression of the Araguaia guerrillas and state terrorism in Bico do Papagaio, TO/PA: night and fog in the Amazon] (PDF) (PhD). Archived from the original (PDF) on 6 April 2023.
- ^ Thompson, Leroy, The MP5 Submachine Gun. Osprey Publishing (2014)
- ^ Galeotti, Mark (18 March 2021). Storm-333: KGB and Spetsnaz seize Kabul, Soviet-Afghan War 1979. Bloomsbury Publishing. pp. 57−58. ISBN 978-1-4728-4188-9. Archived from the original on 19 August 2023. Retrieved 19 August 2023.
- ^ Small Arms Survey (2012). "Surveying the Battlefield: Illicit Arms In Afghanistan, Iraq, and Somalia". Small Arms Survey 2012: Moving Targets. Cambridge University Press. p. 321. ISBN 978-0-521-19714-4. Archived from the original (PDF) on 31 August 2018. Retrieved 30 August 2018.
- ^ "Weapons of Rio's crime war". Thefirearmblog.com. 21 February 2017. Archived from the original on 6 March 2023. Retrieved 3 November 2022.
- ^ Savannah de Tessières (January 2018). At the Crossroads of Sahelian Conflicts: Insecurity, Terrorism, and Arms Trafficking in Niger (PDF) (Report). Small Arms Survey. p. 58. ISBN 978-2-940548-48-4. Archived from the original (PDF) on 12 June 2018. Retrieved 5 June 2018.
- ^ "Explosives, M16 Used In Tanduo Invasion By Sulu Pirates Found In Lahad Datu". Borneo Today. 30 November 2016. Archived from the original on 6 April 2023. Retrieved 26 October 2020.
- ^ "Lahad Datu standoff: Three Al-Jazeera journalists held for 7 hours". Borneo Today. 22 February 2013. Archived from the original on 6 April 2023. Retrieved 26 October 2020.
- ^ "Photos of Bucha, Ukraine". The Washington Post. 5 June 2022. Archived from the original on 5 June 2022. Retrieved 21 April 2023.
- ^ @war_noir (25 September 2023). "More photos of the captured weapons in #Zvečan (#Mitrovica)" (Tweet). Archived from the original on 26 September 2023 – via Twitter.
- ^ Shea, Dan. "HK Defense Technology Division Group Submachine Guns Brochure". Small Arms Review. Archived from the original on 12 October 2021. Retrieved 15 July 2019.
- ^ C, Nicholas (13 January 2021). "[TFB GUNFEST] Here Come The Drums! Magpul MP5 Drum & Glock 17 Drum Magazines". The Firearm Blog. Archived from the original on 14 January 2021. Retrieved 13 January 2021.
- ^ "H&K Web site, MP5 overview". Heckler-koch.com. Archived from the original on 19 January 2013. Retrieved 29 December 2012.
- ^ Hogg, Ian (2002). Jane's Guns Recognition Guide. Jane's Information Group. ISBN 0-00-712760-X.
- ^ Tilstra 2012, p. 42.
- ^ Firepower: The Weapons the Professionals Use - and How. Weapons of the Terrorist War, #17 Orbis Publishing, 1990.
- ^ Dockery 2007, p. 220.
- ^ a b Gao, Charlie (14 November 2019). "Forget Stealth and Missiles: Meet the Russian Army's Greatest Guns (All in One List)". The National Interest. Archived from the original on 28 September 2021. Retrieved 4 April 2021.
- ^ a b Thompson 2014, p. 8.
- ^ Davison, Phil (30 August 2011). "John McAleese: Leader of the SAS team that ended the 1980 siege of the Iranian embassy in London". Archived from the original on 9 May 2022. Retrieved 27 July 2019.
- ^ "Tools of the Trade - SWAT". Archived from the original on 29 May 2016. Retrieved 27 July 2019.
- ^ a b c d e "Report: Profiling the Small Arms Industry". World Policy Institute. November 2000. Archived from the original on 23 August 2018. Retrieved 15 July 2010.
- ^ Thompson 2014, p. 12.
- ^ a b c d e Thompson 2014, p. 18.
- ^ a b c d e f g h Thompson 2014, p. 19.
- ^ a b c d Thompson 2014, p. 68.
- ^ Thompson 2014, p. 24.
- ^ a b c d e f g Thompson 2014, p. 13.
- ^ a b c Cutshaw 2011, p. 154.
- ^ Thompson 2014, p. 47.
- ^ a b Thompson 2014, p. 29.
- ^ "H&K Unveils Mid-Life Upgrades for MP5 SMG At AUSA". The Firearm Blog. 13 October 2015. Archived from the original on 28 April 2024. Retrieved 28 April 2024.
- ^ a b c d e Thompson 2014, p. 15.
- ^ Thompson 2014, p. 5.
- ^ "MP5 SD". Heckler & Koch. Archived from the original on 28 April 2024. Retrieved 13 April 2023.
- ^ a b c d e f Thompson 2014, p. 20.
- ^ a b c "Heckler & Kock MP5K Briefcase Gun". The Armourers Bench. 26 October 2018. Archived from the original on 14 April 2021. Retrieved 14 April 2021.
- ^ a b c Thompson 2014, p. 23.
- ^ Thompson 2014, p. 21.
- ^ C, Luke (25 October 2021). "The Rimfire Report: H&K .22LR MP5 Pistol and Rifle Review". The Firearm Blog. Archived from the original on 28 April 2024. Retrieved 28 April 2024.
- ^ Janson, Olof (10 October 2008). "The new 6.5x25 CBJ cartridge". Göta Vapenhistoriska Sällskap. Archived from the original on 10 September 2023. Retrieved 5 January 2024.
- ^ a b Thompson 2014, p. 30.
- ^ "HK 94 SG/1". Dockery Armory. Archived from the original on 28 April 2024. Retrieved 28 April 2024.
- ^ "Review: Heckler & Koch SP5K Pistol". Shooting Illustrated: An Official Journal Of The NRA. 19 December 2016. Archived from the original on 28 April 2024. Retrieved 28 April 2024.
- ^ "SP5". Heckler & Koch. Archived from the original on 28 April 2024. Retrieved 28 April 2024.
- ^ "Review: Heckler & Koch SP5K-PDW". Shooting Illustrated: An Official Journal Of The NRA. 14 December 2020. Archived from the original on 28 April 2024. Retrieved 28 April 2024.
- ^ a b c d "The Missing Link: Heckler & Koch's "Family" Submachine Gun". Small Arms Review. 1 March 2001. Archived from the original on 28 April 2024. Retrieved 28 April 2024.
- ^ a b McCollum, Ian (3 January 2020). "H&K's Experimental SMG and SMG II for the US Navy". Forgotten Weapons. Archived from the original on 28 April 2024. Retrieved 28 April 2024.
- ^ "Firearm Showcase: The Heckler & Koch SMG (I), 1980s Would-Be Successor to the MP5". The Firearm Blog. 15 July 2016. Archived from the original on 28 April 2024. Retrieved 28 April 2024.
- ^ "Firearm Showcase: The Heckler & Koch SMG II, 1980s Would-Be Successor to the MP5". The Firearm Blog. 20 September 2016. Archived from the original on 28 April 2024. Retrieved 28 April 2024.
- ^ "Firearm Showcase: The Heckler & Koch MP5 PIP, Improving Greatness". The Firearm Blog. 26 September 2016. Archived from the original on 28 April 2024. Retrieved 28 April 2024.
- ^ "Hellenic Defense Systems". Ellinika Amyntika Systimata. Archived from the original on 18 July 2011. Retrieved 26 June 2009.
- ^ a b Thompson 2014, p. 69.
- ^ "Infantry Weapons – SMG PK". Pakistan Ordnance Factories. Archived from the original on 3 October 2013. Retrieved 9 October 2013.
- ^ "POF-5 9mm Semi Auto Pistol, Pakistan Ordnance Factories (POF)". Atlantic Firearms. Archived from the original on 8 June 2016. Retrieved 11 July 2016.
- ^ "POF 5PK 9mm Pistol". Atlantic Firearms. Archived from the original on 21 September 2016. Retrieved 11 July 2016.
- ^ "MP5 Submachine Gun Cal 9X19 mm". Military Industries Corporation. Archived from the original on 25 December 2012. Retrieved 29 December 2012.
- ^ a b "H&K MP5 Clones of the World". The Firearm Blog. 1 February 2017. Archived from the original on 30 July 2018. Retrieved 30 July 2018.
- ^ "Turkey MKEK MP5". MAKİNE ve KİMYA ENDÜSTRİSİ A.Ş. Archived from the original on 18 June 2009. Retrieved 26 June 2009.
- ^ "Norinco NR08: Chinese MP5 Clone -". The Firearm Blog. 29 October 2010. Archived from the original on 30 July 2018. Retrieved 30 July 2018.
- ^ "NORINCO NR08A – czyli klon HK MP5 – KOLEKCJA 061 – broń i akcesoria". Archived from the original on 30 July 2018. Retrieved 30 July 2018.
- ^ "Unnamed: India's Ordnance Factory Board 'ANAMIKA' MP5". The Firearm Blog. 16 June 2016. Archived from the original on 28 April 2024. Retrieved 28 April 2024.
- ^ "Military Industry Corporation (MIC) Official Website". Military Industry Corporation. Archived from the original on 9 July 2009. Retrieved 26 June 2009.
- ^ "PTR 9CT pistol (9mm) 601 - HK MP5 clone 8.86" threaded barrel | For Sale". Charlie's Custom Clones. 29 September 2023. Archived from the original on 29 September 2023. Retrieved 22 June 2024.
- ^ "American Made MP5 | Semi Auto MP5 | MP5 Pistol For Sale". Zenith Firearms. 1 June 2024. Archived from the original on 1 June 2024. Retrieved 22 June 2024.
- ^ "Dakota Tactical D54 /MP5". The Loadout Room. 14 August 2022. Archived from the original on 14 August 2022. Retrieved 22 June 2024.
- ^ "Dakota Tactical D54-N MP5 style 9mm Semi-Auto Pistol Model A1". Charlie's Custom Clones. 22 June 2024. Archived from the original on 22 June 2024. Retrieved 22 June 2024.
- ^ "Century Arms 9mm AP5-M Pistol: Ultimate HK MP5 Clone?". Firearms News. 12 June 2024. Archived from the original on 12 June 2024. Retrieved 22 June 2024.
- ^ "DefRev Quick Hits 3: More Tactical Technology from the Show". DefenseReview.com. 21 January 2007. Retrieved 10 July 2024.
- ^ "Birth of a four decade nightmare | David Loyn | The Critic Magazine - husale.shopsfashion2023.ru". husale.shopsfashion2023.ru. Archived from the original on 26 June 2023. Retrieved 26 June 2023.
- ^ Bhatia, Michael Vinai; Sedra, Mark (May 2008). Small Arms Survey (ed.). Afghanistan, Arms and Conflict: Armed Groups, Disarmament and Security in a Post-War Society. Routledge. p. 165. ISBN 978-0-415-45308-0. Archived from the original on 1 September 2018. Retrieved 1 September 2018.
- ^ Bhatia & Sedra 2008, p. 277.
- ^ "Viktimat u vranë me plumba 9mm". Top-channel.tv. 23 January 2011. Archived from the original on 27 May 2013. Retrieved 29 December 2012.
- ^ Akramov (24 July 2016). "Le GOSP, nouvelle unité spéciale de la police algérienne". MENADEFENSE (in French). Archived from the original on 23 December 2019. Retrieved 30 March 2020.
- ^ a b c d Gander, Terry J.; Hogg, Ian V. Jane's Infantry Weapons 1995/1996. Jane's Information Group; 21 edition (May 1995). ISBN 978-0-7106-1241-0.
- ^ "Weapons: Royal Australian Air Force". Archived from the original on 9 January 2009. Retrieved 9 January 2009.
- ^ "TAG East operations (image)". Archived from the original on 4 October 2016. Retrieved 11 July 2016.
- ^ "TRG raid McLeod rental property". Perthnow.com.au. 13 January 2010. Archived from the original on 14 May 2013. Retrieved 30 December 2012.
- ^ a b c d e f g h i j k l m n o p q r s t u v w x Jones & Ness 2009, p. 514.
- ^ Jones & Ness 2009, p.
- ^ "АЛМАЗ – антитерор". YouTube. Archived from the original on 2 October 2015. Retrieved 29 December 2012.
- ^ "KGB vs FSB shooting". YouTube. 3 January 2015. Archived from the original on 9 January 2016. Retrieved 3 January 2015.
- ^ Ezell, Smith & Smith 1973, p. 286.
- ^ a b c d e f "World Infantry Weapons: Brazil". Archived from the original on 2 June 2016.
- ^ Olive, Ronaldo. Enciclopedia De Submetralhadoras. p. 67.
- ^ Olive, Ronaldo. Enciclopedia De Submetralhadoras. p. 70.
- ^ "Another look at Brazil's crime weapons". 25 June 2018. Archived from the original on 30 September 2023. Retrieved 29 January 2024.
- ^ gp (18 March 2021). "Royal call for RBPF to set bar high for training policies » Borneo Bulletin Online". Royal call for RBPF to set bar high for training policies. Archived from the original on 20 October 2021. Retrieved 16 December 2021.
- ^ "Etpu" (PDF). Defense Treaty Ready Inspection Readiness Program. Archived from the original (PDF) on 22 July 2011. Retrieved 29 January 2011.
- ^ "CASR — Canadian American Strategic Review — DND 101 — Canadian Forces Small Arms — Specialist Weapons — A Visual Guide". Archived from the original on 22 August 2016. Retrieved 3 March 2014.
- ^ Dan Beaumont ARCHIVES (3 December 2011). "Denis Lortie " fusillade au Parlement de Québec ", SRC, 8 mai 1984". Archived from the original on 16 March 2016. Retrieved 11 July 2016 – via YouTube.
- ^ "Chongqing police SWAT team". YouTube. 24 March 2011. Archived from the original on 11 December 2021. Retrieved 29 December 2012.
- ^ "Rare guns in China. Used by police and military". YouTube. 23 December 2016. Archived from the original on 15 August 2017. Retrieved 23 December 2016.
- ^ "uea21". YouTube. 15 February 2009. Archived from the original on 24 July 2013. Retrieved 30 December 2012.
- ^ "U ATJ Lučko završen tečaj FBI-a". Ezadar.hr. Archived from the original on 13 May 2013. Retrieved 29 December 2012.
- ^ "Cuban Special Forces - MININT and Black Wasps". Youtube. 5 July 2012. Archived from the original on 16 February 2019.
- ^ "zbrane.indd" (PDF). Archived (PDF) from the original on 29 February 2012. Retrieved 24 June 2010.
- ^ a b c Thompson 2014, p. 67.
- ^ "Policía y CTE realizan intercambio de armas" (in Spanish). Telerama. 7 June 2011. Archived from the original on 9 March 2016. Retrieved 19 June 2012.
- ^ Bennett, R M (31 August 2011). "Egypt". Elite Forces. Ebury Publishing. pp. 199–200. ISBN 978-0-7535-4764-9. Retrieved 19 August 2013.
- ^ "9 mm püstolkuulipilduja HK MP-5A2". Kaitsevägi (in Estonian). 9 November 2023. Archived from the original on 10 November 2023. Retrieved 10 November 2023.
- ^ Capie, David (2004). Under the Gun: The Small Arms Challenge in the Pacific. Wellington: Victoria University Press. pp. 70–71. ISBN 978-0864734532.
- ^ "Materiel and Equipment of the Finnish Defence Forces". Puolustusvoimat. Archived from the original on 30 August 2023. Retrieved 11 September 2023.
- ^ "Terre – HK MP5 A5" (in French). Defense.gouv.fr. Archived from the original on 14 March 2008. Retrieved 26 June 2009.
- ^ "Terre – HK MP5 SD3" (in French). Defense.gouv.fr. Archived from the original on 16 March 2008. Retrieved 26 June 2009.
- ^ "Armament of the Georgian Army". 9 March 2012. Archived from the original on 9 March 2012.
- ^ "Modern Firearms – Heckler Koch HK MP-5 submacine gun". World.guns.ru. Archived from the original on 17 June 2010. Retrieved 24 June 2010.
- ^ "Maschinenpistole MP5K". streitkraeftebasis.de. Archived from the original on 12 October 2010. Retrieved 24 June 2010.
- ^ a b c Miller, David (2001). The Illustrated Directory of 20th Century Guns. Salamander Books Ltd. ISBN 978-1-84065-245-1.
- ^ "Hong Kong Police – Airport Security Unit". hkdigit.blogspot.com. 12 June 2007. Archived from the original on 15 October 2010. Retrieved 31 October 2010.
- ^ Cheng, Kris (17 November 2017). "German firm refuses to sell submachine guns to Hong Kong police force, as lawmaker blames decline in human rights". HKFP. Retrieved 1 December 2019.
- ^ "Gæslan keypti hríðskotabyssur". Archived from the original on 6 August 2016. Retrieved 11 July 2016.
- ^ "Sérsveitin í brennidepli", Fréttablaðið, March 6. 2004, p. 18, Dagur – Tíminn, Akureyri, March 8. 1997, p. 20.
- ^ "Force One to get MP5 guns". dnaindia.com. 16 January 2009. Archived from the original on 21 January 2012. Retrieved 24 June 2010.
- ^ Unnithan, Sandeep (22 August 2008). "If Looks Could Kill". India Today (Online). Archived from the original on 12 February 2010. Retrieved 4 April 2009.
- ^ "ARW Equipment". Fianoglach.ie. Archived from the original on 13 March 2009. Retrieved 24 June 2010.
- ^ "Arma dei Carabinieri – Home – L'Arma – Oggi – Armamento – Armamento speciale – Pistola Mitragliatrice Heckler & Koch MP5". Carabinieri.it. 16 November 2005. Archived from the original on 21 December 2012. Retrieved 29 December 2012.
- ^ Anders, Holger (June 2014). Identifier les sources d'approvisionnement: Les munitions de petit calibre en Côte d'Ivoire (PDF) (in French). Small Arms Survey and United Nations Operation in Côte d'Ivoire. p. 15. ISBN 978-2-940-548-05-7. Archived from the original (PDF) on 9 October 2018. Retrieved 5 September 2018.
- ^ "SBU(海上自衛隊特別警備隊)の動画". Special-operations.info. Archived from the original on 30 December 2012. Retrieved 29 December 2012.
- ^ 日本の特殊部隊 (in Japanese). Archived from the original on 4 November 2013.
- ^ Otsuka, Masatsugu (January 2009). "Guns of the Japanese police". Strike and Tactical Magazine (in Japanese). 6 (1). KAMADO: 50–57.
- ^ "Unofficial SST Page" (in Japanese). Archived from the original on 11 June 2013. Retrieved 27 May 2010.
- ^ 陸上自衛隊唯一の特殊部隊 特殊作戦群の解説 (in Japanese). Archived from the original on 28 January 2013. Retrieved 28 November 2012.
- ^ "自衛隊の採用する銃器". Jieitaisaiyou.web.fc2.com. Archived from the original on 28 January 2013. Retrieved 29 December 2012.
- ^ Rottman 1993, p. 53.
- ^ "Sh25m Kenya heist puzzle". Capital FM Kenya. Retrieved 29 December 2012.
- ^ "Germany's Unseen Hand in Kenya Crisis". The African Executive. 6 February 2008. Archived from the original on 16 May 2013. Retrieved 29 December 2012.
- ^ "AM sagatavojusi jaunus armijas ieroču standartus". www.tvnet.lv (in Latvian). LETA. 12 July 2018. Archived from the original on 13 February 2023. Retrieved 10 November 2023.
- ^ a b Jenzen-Jones, N.R.; McCollum, Ian (April 2017). Small Arms Survey (ed.). Web Trafficking: Analysing the Online Trade of Small Arms and Light Weapons in Libya (PDF). Working Paper No. 26. p. 85. Archived from the original (PDF) on 9 October 2018. Retrieved 30 August 2018.
- ^ "Annual Report 2011 > Landespolizei" (PDF). Landespolizei. Archived from the original (PDF) on 13 May 2013. Retrieved 18 June 2012.
- ^ "About the Security Corps > Landespolizei" (PDF). Landespolizei. Archived from the original (PDF) on 13 May 2013. Retrieved 18 June 2012.
- ^ "Lietuvos kariuomenė :: Ginkluotė ir karinė technika » Pistoletai-kulkosvaidžiai » Pistoletas – kulkosvaidis MP-5" (in Lithuanian). Kariuomene.kam.lt. 17 April 2009. Archived from the original on 16 January 2013. Retrieved 29 December 2012.
- ^ "Lithuania: Special Operations and Counterterrorist Forces". Special Operations.Com. Archived from the original on 6 October 2013. Retrieved 5 October 2013.
- ^ "Equipement :: Unité Spéciale de la Police". USP.LU. Archived from the original on 22 July 2011. Retrieved 24 June 2010.
- ^ Royal Malaysia Police (July 2009). "Airport Security Course 1/2009". Royal Malaysia Police. Archived from the original on 24 July 2015. Retrieved 24 July 2015.
- ^ Thompson, Leroy (December 2008). "MAST – SWAT Team of Marine Police". Special Weapons. Archived from the original on 20 July 2013. Retrieved 29 November 2009.
- ^ Royal Malaysian Customs Academy (2010). "Royal Malaysian Customs Academy: Firing range". Royal Malaysian Customs. Archived from the original on 6 July 2019. Retrieved 22 August 2011.
- ^ Muhammad, Zuridan (July 2009). "Malaysian Special Forces". TEMPUR. Archived from the original on 2 April 2012. Retrieved 20 July 2013.
- ^ . Small Arms Survey https://www.smallarmssurvey.org/sites/default/files/SAS-weapons-sub-machine-guns-Heckler-Koch-MP5.pdf. Retrieved 17 June 2025.
{{cite web}}: Missing or empty|title=(help) - ^ "United Nations Register of Conventional Arms". Un.org. Archived from the original on 16 January 2013. Retrieved 30 December 2012.
- ^ "Nuhodžić: Saradnja sa građanima dodatni motiv za još bolje rezultate". www.aktuelno.me. 29 September 2019. Archived from the original on 18 January 2024. Retrieved 29 September 2019.
- ^ "Pogledajte kako je na Cetinju obilježen Dan Vojske Crne Gore". www.cdm.me. Archived from the original on 18 January 2024. Retrieved 10 May 2018.
- ^ "AUTOMAT HECKLER AND KOCH - MP5". www.vojska.me. Archived from the original on 3 February 2021. Retrieved 29 September 2019.
- ^ "Legacies of War in the Company of Peace: Firearms in Nepal" (PDF). Nepal Issue Brief (2). Small Arms Survey: 5. May 2013. Archived from the original (PDF) on 8 July 2014. Retrieved 8 January 2019.
- ^ "Dienst Koninklijke en Diplomatieke Beveiliging (DKDB) KLPD". Arrestatieteam.nl. Archived from the original on 24 February 2011. Retrieved 29 January 2011.
- ^ Media Works NZ / TV3 Documentary – Inside New Zealand – NZSAS: First Among Equals. TVNZ Documentary – Line of Fire. www.army.mil.nz/our-army/nzsas
- ^ "En liten røver med trøkk i (Norwegian article on the Heckler & Koch deal)". Mil.no. Archived from the original on 27 September 2007. Retrieved 29 December 2012.
- ^ "Kjent skyldig av juryen – beskyttes av væpnet politi – VG Nett om Gjengkriminalitet". Vg.no. 27 May 2009. Archived from the original on 13 October 2012. Retrieved 29 December 2012.
- ^ "Pakistan Army". Archived from the original on 13 May 2013.
- ^ Montes, Julio A. (August 2011). "Peruvian Small Arms: Gunning for the Shining Path" (PDF). Small Arms Defense Journal: 25–29. Archived from the original (PDF) on 4 March 2016. Retrieved 5 July 2018.
- ^ "Rice Not Guns – German Arms in the Philippines". Bits.de. Archived from the original on 7 September 2010. Retrieved 24 June 2010.
- ^ "Coast Guard displays new firearms vs. Piracy, terrorism". Philippine News Agency. Archived from the original on 25 May 2024. Retrieved 25 May 2024.
- ^ "Uzbrojenie". info.policja.pl (in Polish). Policja. Archived from the original on 12 July 2018. Retrieved 12 July 2018.
- ^ podkom. Tomasz Głuchowski; asp. Tomasz Czechowicz (2016). "Materiały dydaktyczne 35, Pistolety maszynowe na wyposażeniu polskiej Policji – część I" (PDF). katowice.szkolapolicji.gov.pl (in Polish). Szkoła Policji w Katowicach. Archived (PDF) from the original on 2 March 2022. Retrieved 16 April 2022.
- ^ "Policja kupuje pistolety maszynowe MP-5". defence24.pl (in Polish). Defence24. 11 July 2016. Archived from the original on 3 August 2020. Retrieved 6 April 2021.
- ^ Pacholski, Łukasz (21 January 2020). "Oddziały kontrterrorystów zamawiają nową broń". radar.rp.pl (in Polish). Rzeczpospolita. Archived from the original on 25 September 2021. Retrieved 6 April 2021.
- ^ "Policja się zbroi". Archived from the original on 16 July 2023. Retrieved 16 July 2023.
- ^ "Więcej MP5 dla Policji". Archived from the original on 16 July 2023. Retrieved 16 July 2023.
- ^ "Portuguese Military - Special Operations and Elite Units". Spec Ops Magazine. 8 October 2020. Archived from the original on 14 October 2020. Retrieved 5 August 2021.
- ^ "DAE, a secreta tropa de elite portuguesa". JN (in European Portuguese). 20 July 2017. Archived from the original on 16 December 2019. Retrieved 20 August 2022.
- ^ "GIOE/GNR – 2019: NOVO EQUIPAMENTO DE PROTECÇÃO INDIVIDUAL E ARMAMENTO | Operacional" (in European Portuguese). Archived from the original on 8 March 2021. Retrieved 20 August 2022.
- ^ Simões, Sónia. "Ataques terroristas, assaltos com reféns e segurança em países em guerra. As histórias dos "cirurgiões" da PSP". Observador (in European Portuguese). Archived from the original on 10 June 2022. Retrieved 20 August 2022.
- ^ Mihai Diac (5 March 2008). "Armament ultrasofisticat pentru Forţele Speciale ale Armatei Române – Gandul". Gandul.info. Archived from the original on 10 August 2011. Retrieved 8 August 2013.
- ^ Sorin A. Crasmarelu (2006). "Romanian Intelligence Service's Anti-Terrorism Brigade". geocities.ws. Archived from the original on 4 March 2016. Retrieved 7 December 2015.
- ^ "FotoB1dotare". brigadaspeciala.ro.
- ^ "Menirea Intervenției Rapide" (in Romanian). Presa Militara Romana. 2004. Archived from the original on 8 April 2009.
- ^ "Спецподразделения МВД вооружатся австрийскими пистолетами". Lenta.ru. Archived from the original on 15 January 2013. Retrieved 29 December 2012.
- ^ "Singapurske Specijalne Postrojbe" (in Croatian). Hrvatski Vojnik Magazine. Archived from the original on 15 October 2009. Retrieved 25 October 2009.
- ^ "Home Team Convention" (PDF). Police Life Monthly. 37 (9): 7. September 2011. ISSN 0217-8699. Archived from the original (PDF) on 26 May 2013. Retrieved 3 February 2012.
- ^ "Vigilance, Valour and Victory" (PDF). Police Life Monthly. 37 (1): 22. January 2011. ISSN 0217-8699. Archived from the original (PDF) on 26 May 2013. Retrieved 3 February 2012.
- ^ "Official page of Slovak special units" (in Slovak). Archived from the original on 16 January 2019. Retrieved 28 May 2019.
- ^ "Special Police Unit exercise". Policija.si. 2 August 2011. Archived from the original on 21 September 2012. Retrieved 29 December 2012.
- ^ "Carte Blanche – M-Net". Beta.mnet.co.za. Archived from the original on 10 December 2010. Retrieved 29 January 2011.
- ^ "Equipment". South African Police Special Task Force. Archived from the original on 25 October 2018. Retrieved 12 May 2021.
- ^ "Blue Paper :: 아덴만 여명작전! 부산에서 재현되다!". Blue-paper.tistory.com. 20 January 2012. Archived from the original on 8 December 2015. Retrieved 30 December 2012.
- ^ "Web Del Grupo Especial De Operaciones (GEO)" (in Spanish). Official Website of the Spanish National Police Corps. Archived from the original on 20 July 2011. Retrieved 15 July 2014.
- ^ Ferguson, Jonathan (25 June 2025). Inside Iran’s MP5 Submachine Gun Copy: The Tondar TK9 with firearms expert Jonathan Ferguson. Royal Armouries. Event occurs at 19:15-19:31. Retrieved 28 June 2025.
- ^ Henrik Svensk. "kulsprutepistol 45 b kpist k-pist 45". Soldf.com. Archived from the original on 22 August 2010. Retrieved 24 June 2010.
- ^ Gerber, Thomas. "9 mm Maschinenpistole HK 5 A5". Mediathek VBS (in German). Archived from the original on 11 August 2023. Retrieved 14 August 2023.
- ^ "Ukraine's police forces switch to MP5 submachine guns (PHOTOS) - KyivPost - Ukraine's Global Voice". 17 May 2019. Archived from the original on 19 December 2021. Retrieved 24 October 2021.
- ^ "Press – Police Ombudsman for Northern Ireland". Policeombudsman.org. Archived from the original on 14 December 2010. Retrieved 29 January 2011.
- ^ Moore, Matthew (22 October 2009). "Armed officers placed on routine foot patrol for first time". Telegraph.co.uk. Archived from the original on 28 December 2012. Retrieved 29 December 2012.
- ^ "Sussex Police Uncovered – Tactical Firearms Unit". Archived from the original on 16 January 2010.
- ^ "Heckler & Koch MP5 SMG". Olive-drab.com. Archived from the original on 24 January 2013. Retrieved 29 December 2012.
- ^ Ambinder, Marc (March 2011). "Inside the Secret Service". The Atlantic. Archived from the original on 19 December 2011. Retrieved 25 December 2011.
- ^ Diez, Octavio (2000). Armament and Technology. Lema Publications, S.L. ISBN 978-84-8463-013-5.
- ^ Moore, Malcolm (11 June 2008). "Pope Benedict XVI sets up anti-terrorist squad". The Daily Telegraph. London. Archived from the original on 6 April 2018. Retrieved 4 April 2018.
- ^ "Trung Quốc 'choáng': CSCĐ Việt Nam dùng 'Súng bẻ góc' Israel". baodatviet.vn. Archived from the original on 29 August 2018. Retrieved 29 August 2018.
- ^ "9. Volkspolizei-Kompanie a Diensteinheit IX: Protiteroristické jednotky východního Německa". www.armyweb.cz (in Czech). Archived from the original on 15 November 2023. Retrieved 15 November 2023.
- ^ "EN MP5 YU, Jugoslawien / Die MP5 in verschiedenen Ländern | HK MP5 Collector". www.hkmp5collector.com (in Austrian German). Retrieved 22 July 2025.
- ^ Patrick Donahue (12 February 2007). "German Red Army Faction Member Wins Early Release". Bloomberg. Archived from the original on 18 April 2012. Retrieved 12 December 2011.
Bibliography
- Cutshaw, Charles Q. (28 February 2011). Tactical Small Arms of the 21st Century: A Complete Guide to Small Arms From Around the World. Iola, Wisconsin: Gun Digest Books. ISBN 978-1-4402-2709-7.
- Dockery, Kevin (2007). Future Weapons. New York: Penguin Group (USA) Incorporated. ISBN 978-0-425-21750-4.
- Ezell, Edward Clinton; Smith, Walter Harold Black; Smith, Joseph Edward (1973). Small Arms of the World: A Basic Manual of Small Arms, the Classic (121 ed.). Woodbridge, Virginia: Stackpole Books. ISBN 978-0-85368-189-2.
- James, Frank W. (1 January 2003). Heckler and Koch's Mp5 Submachine Gun. Iola, Wisconsin: Krause Publications. ISBN 978-0-937752-15-9.
- Jones, Richard D.; Ness, Leland S., eds. (2009). Jane's Infantry Weapons 2009/2010 (35th ed.). Coulsdon: Jane's Information Group. ISBN 978-0-7106-2869-5.
- Rottman, Gordon L. (1993). Armies of the Gulf War. Osprey Publishing. ISBN 978-1-85532-277-6.
- Thompson, Leroy (20 July 2014). The MP5 Submachine Gun. Osprey Publishing. ISBN 978-1-78200-917-7.
- Tilstra, Russell C. (2012). Small Arms for Urban Combat. US: McFarland. ISBN 978-0-7864-6523-1. Archived from the original on 9 May 2012.
External links
- Official website

- Heckler & Koch MP5 at the Internet Movie Firearms Database
- 2008 Heckler & Koch Military and LE brochure Archived 5 November 2015 at the Wayback Machine
- HKPRO: MP5, MP5K Archived 2 January 2010 at the Wayback Machine, MP5SD Archived 2 January 2010 at the Wayback Machine, MP5/10 & MP5/40 Archived 2 January 2010 at the Wayback Machine
- REMTEK: MP5, MP5K, MP5K PDW, MP5SD, MP5/10
- HECKLER & KOCH MP5 SUB MACHINE GUN FAMILY OPERATOR'S MANUAL Archived 9 August 2017 at the Wayback Machine
- HK MP5 Armorers Manual

